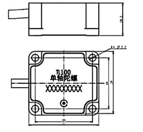
TL100A single axis gyroscope series

The single-axis gyroscope is small in size, low in power consumption, and has a built-in high-precision temperature compensation and filtering algorithm. It also supports vertical and horizontal axial customization. It is suitable for various scenarios with restrictions on space size and power consumption.

product detail

Related Products

We will provide our partners with the best service, contact us now.

MANAGER

Mio Zhang

Rachel

E-MAIL

sales1@iccpower.com

sales2@iccpower.com

TEL

0755-23997034

15338756980